Precision Engineering
We believe that accuracy defines excellence. Every cut, bend, and weld is executed with meticulous precision to meet the highest industry standards.
Customer-Centric Approach
Our clients are at the heart of everything we do. We listen, understand, and deliver solutions tailored to their unique needs—on time, every time.
Innovation & Technology
We continuously invest in advanced machinery and skilled manpower to stay ahead in the engineering landscape and offer world-class solutions.
About
Who We Are
- Quality
- Innovation
- Customer Satisfication
Our Services
At Green Engineering Technologies, our comprehensive range of services is designed to cater to all your engineering needs with precision and care.
Transformer Fabrication
Laser Cutting
Lift Job Works
AutoCAD Design & Engineering Services
Surface Treatment & Finishing
CNC Bending & Sheet Metal Forming
Our Product Range
At Green Engineering Technology, we manufacture a wide range of high-precision metal components and transformer products, tailored to the needs of industries across power, infrastructure, and manufacturing sectors. From laser-cut components to large-scale transformer tanks, our products are engineered for reliability, accuracy, and long-term performance.
Transformer Components
Fabricated Components:
Oil Tank Assemblies (Radiator Type)
Core Clamping Structures
Terminal Bushings & Cable Boxes
Conservators & Buchholz Relay Mounts
Laser Cut Components
Key Products:
✔ Electrical Panels & Switchgear Components
✔ Machine Guards & Safety Enclosures
✔ Automotive Brackets & Mounts
✔ Architectural Metal Artwork & Signage
CNC Bended Parts
Accurate Bending for Functional Design
Using our 150-ton hydraulic press brake, we manufacture bended parts with consistent angles and dimensional accuracy, essential for strong mechanical joints and seamless assembly.
Top Cover
Tank Assembly
Bus Ducts
Cable Box
Tank Assembly
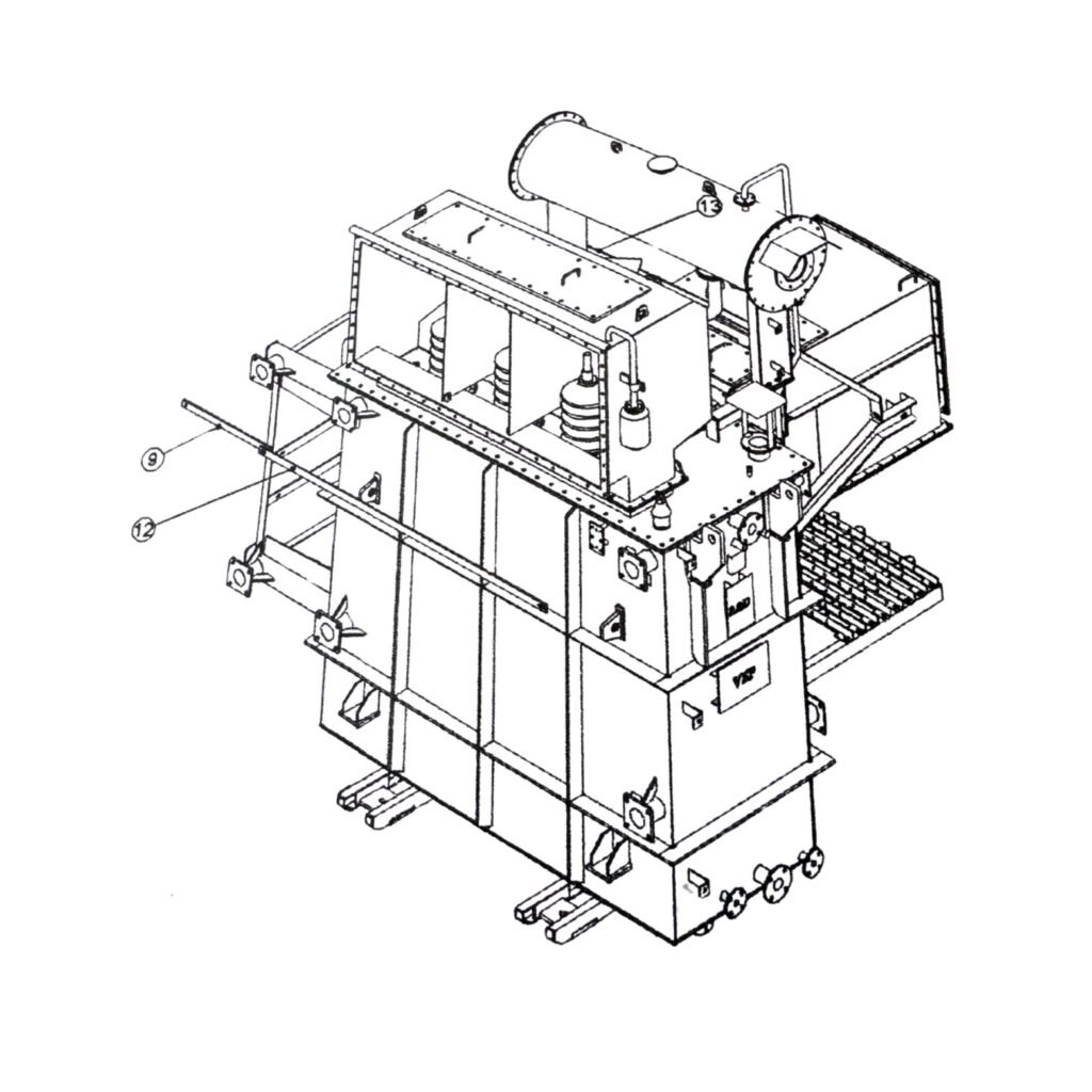
End-to-End Transformer Fabrication – From Precision Design to Power-Grade Manufacturing.
We engineer and fabricate bespoke transformers (100KVA to 40MVA) – including oil-cooled, dry-type, and export-grade units – with ISO/IEC-compliant designs, robust tank fabrication (±1mm welding tolerance), and full testing (pressure, dielectric, DGA). From CRGO core assembly to corrosion-resistant coatings, we deliver turnkey solutions for power, distribution, and industrial applications.
Industries We Serve
Infrastructure & Utilities
Automotive & Machinery
OEMs & Job Work Clients
Power & Energy
Export-based Fabrication Houses
Electrical Equipment
Why Choose Green Engineering Technologies?
Unmatched Precision & Quality
Micron-Level Accuracy (±0.1mm) in laser cutting and fabrication.
Advanced German Machinery
Automated systems reduce human error and enhance efficiency.
End-to-End Capabilities
From raw material cutting to welding, assembly, and painting—we handle all stages under one roof, saving you time and cost.
Experienced Leadership & Skilled Workforce
Trained Technicians: Certified welders, laser operators, and QC inspectors.
On-Time Delivery
Dedicated project management to meet deadlines.
Trusted by Industries
Serving power utilities, OEMs, and infrastructure giants across India and export markets with: Transformer tanks (up to 40MVA).
Our Lift Products
We take pride in our ability to manufacture a wide range of lift components with precision and attention to detail. Our product range includes:
Passenger Lifts
Structure Lifts
Home Lifts
Hydraulic Lifts
Goods Lifts
Car Frames
Cabin & Doors
Cabin Designs
Lift Doors
Our Machinery
At Green Engineering Technologies Industries, we invest in cutting-edge machinery to deliver precision, speed, and reliability. Our German-engineered equipment ensures superior quality across laser cutting, bending, and fabrication processes.
Laser Cutting Machine
Power: 4KW - 6KW
Hydraulic Bending Machine
Capacity: 150 Ton
Laser Welding Machine
Power Press – 30 Ton
H-Type Hydraulic Press – 50 Ton
Laser Welding Machine
Our Clients








Our Testimonials